عصرایران؛ محمد مهدی حیدرپور - گوگل پتنتی را برای آنچه شبیه یک چشم بیونیک به نظر می رسد، ثبت کرده است. این پتنت در سال 2014 ثبت شده و به تازگی منتشر شده است و دستگاهی را توصیف می کند که بی نیاز از لنزهای تماسی یا عینک می تواند بینایی فرد را اصلاح کند. البته بکارگیری این چشم بیونیک چندان هم آسان نیست.

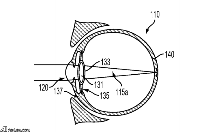
به گزارش "گروه علم و فناوری" عصرایران، شیوه کار به این صورت است که پس از برداشتن لنز از کپسول لنز در چشم فرد، مایعی به داخل کپسول تزریق می شود. این مایع همانند یک نوع چسب عمل می کند و به فردی که انجام عمل را بر عهده دارد اجازه اتصال «دستگاه درون چشمی» را به کپسول لنز می دهد.
مایع تزریق شده پس از مدتی سفت می شود تا اتصالی بین کپسول لنز و دستگاه شکل گرفته و یک لنز تماسی الکترونیکی ایجاد شود. لنز تماسی الکترونیکی بینایی فرد را اصلاح خواهد کرد. یک حسگر در دستگاه آنچه که فرد در تلاش برای مشاهده آن است را حس می کند و وضوح کامل دیداری را برای وی فراهم می کند.
این برای نخستین بار نیست که گوگل علاقه خود برای معرفی یک فناوری مرتبط با چشمان انسان را نشان می دهد. این شرکت پیش از این پتنتی را برای یک لنز تماسی هوشمند که با نیروی خورشیدی کار می کند و می تواند عملکردهایی مانند اندازه گیری سطح گلوکز را انجام دهد را نیز ثبت کرده بود.
البته به واسطه این که پتنتی وجود دارد نباید انتظار معرفی یک لنز تماسی الکترونیکی در آینده نزدیک را داشته باشیم.
برای خواندن مطالب بیشتر در زمینه علم و فناوری به اینجا مراجعه کنید.